
TGM/MF51单端玻璃封装系列NTC热敏电阻
常规参数:
阻值 |
B值(25/50) |
阻值 |
B值(25/50) |
阻值 |
B值(25/50) |
阻值 |
B值(25/50) |
5K |
3470 |
15K |
3950 |
50K |
4050 |
200K |
3899 |
5K |
3950 |
20K |
3950 |
100K |
3930 |
200K |
4260 |
10K |
3380 |
20K |
4200 |
100K |
3950 |
231K |
4180 |
10K |
25/85:3435 |
40.27K |
25/85:3977 |
100K |
3990 |
500K |
4250 |
10K |
3600 |
47K |
3950 |
100K |
4200 |
500K |
4400 |
10K |
3950 |
50K |
3950 |
150K |
3950 |
1.388M |
4500 |
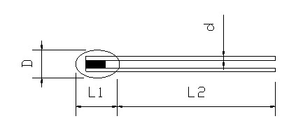
外形如图:

注:D:1.3MM 1.65MM 2.2MM三种
用途:用来温度测试,温度控制,温度补偿
单端玻封热敏电阻又称单端玻封型热敏电阻、单端玻封型温度传感器。
采用玻璃封焊技术,稳定性高,漂移极小,一致性佳,体积小巧,温度反应快。
阻值范围:5K 欧姆~500K欧姆,可定制不同阻值和参数。
阻值精度范围:1%,2%,3%,5%
工作温度范围:-50℃~250℃
应用范围:家电、通讯产品、美容器材、电动工具、医疗仪器仪表、现代自动化办公设备、电子万年历、手机电池保护板、温度传感器等产品的测、控温。产品精度高、互换性、一致性好,性价比高


